4520F-4520M系列共模电感
IC CMOS 4520
LA4520-Single chip playback integrated circuit ...
4520
LA 4520, Tube LA4520; Röhre LA 4520 ID72080, IC...
Mr 4520 Mr-4520 Mr4520 Regulador Fuente Smps Sw...
اون توستر تکنو مکس سفید مدل 4520 - سپیدکالا
4520B datasheet(1/3 Pages) INTEL | DUAL 4-BIT B...
4520B Datasheet(PDF) - Intel Corporation
4520 – Známky Centrála
M4520 | Захаро
Микросхема hcf4520 схема включения - 87 фото
4520 | PDF
CD4520 DATASHEET PDF
4520 Board intro - Northwestern Mechatronics Wiki
NEXT 4520
PHILIPS N4520
Chip Ricoh SP4510 4510 SP4520 4520 DRUM | Apexm...
C4520C0G3F220K110KA TDK Corporation | Capacitor...
2SC4520 Transistor - 45V, 1.5A, NPN ( Datasheet...
[4520] 해외선옵 미니주문
Hcf4520 схема включения микросхема
Микросхема LA4520
⭐ Микросхема CD4520BM. Низкие цены. На складе в...
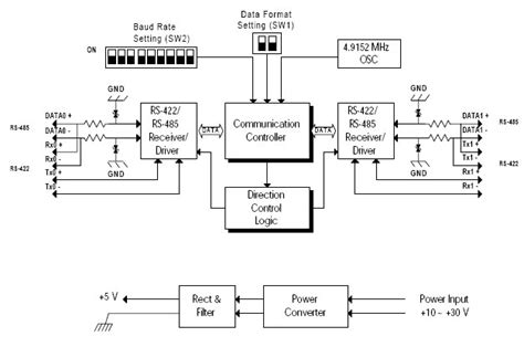
adam-4520 install settings
USB4520 - USB 2.0 Connector Type C Horizontal R...
Semiconductor: 4520 - DUAL BINARY UP COUNTER...
4520 for small
C4520X7R3D471K130KA TDK Corporation | Capacitor...