Замена датчика давления масла уаз буханка 402 д...
Датчик давления масла змз 402 как проверить - А...
Сколько надо залить масла в 402 двигатель
Где находится датчик давления масла 402 двигате...
Купить Датчик давления масла (аварийный) (клемм...
Датчик давления масла 2312.3829 Газель, Соболь ...
Схема подключения датчика давления масла уаз 40...
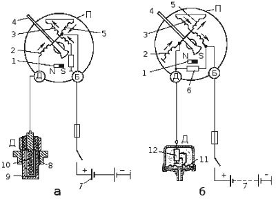
Датчики давления масла в двигателе: виды, особе...
Где находятся датчики давления масла на пассате б5
Датчик давления масла (0-6) для УАЗ, Зил, ПАЗ, ...
Датчик давления масла
Датчик давления уаз 402 схема подключения
Датчик давления масла 23.3829 (ЗМЗ-402.10, 406....
Датчик давления масла 23.3829 Газель, Соболь дв...
Купить Датчик давления масла ГАЗ с дв. ЗМЗ 402,...
Датчик давления масла Волга Газель дв 402, УАЗ ...
Купить Датчик давления масла 2312.3829 Газель, ...
Купить Датчик давления масла 23.3829 для двигат...
Датчик давления масла Волга, Газель, УАЗ, ПАЗ д...
Датчик Давления Масла Газель, Соболь ЗМЗ 402, 4...
Вопросы и ответы о STARTVOLT Датчик давления ма...
Датчик давления масла ММ358 Волга двигатель 402...
Датчик давления масла ГАЗ УАЗ с дв. ЗМЗ-402 STA...
Механический датчик давления масла ЗМЗ 402 — ГА...
Датчик Давления Масла 402 Двигатель (на Лампочк...
Датчик давления масла 402 двигатель (на лампочк...
Датчик давл масла 402дв (на лампочку) Китай ММ1...
Датчик давления масла газ 3110 402 двигатель гд...