Источник Био KM-12S фильтр для воды, минерализатор
Фильтры для воды в Израиле.
Купить фильтр для воды в Минске | Фильтры для о...
Какие бывают фильтры для воды? - Krausen
Купить фильтр для воды Источник Био SE-10
Схема высоконагружаемого биофильтра - 82 фото
Фильтр для воды - AgroFlora.ru
Био фильтры для воды аквариума своими руками 83...
Фильтры для воды - купить - Системы очистки вод...
Фильтр для воды в дар (Москва). Дарудар
👍 ТОП-6 лучших очистителей (фильтров для воды) ...
Биофильтр для пруда | Экопровод
Источник БИО ER-5G фильтр для очистки воды | ин...
Купить На открытом воздухе водоочиститель Устро...
Стационарные – Звезда
Комплект италиански филтър за вода с миещ филтъ...
Фильтры для питьевой воды: ammo1 — LiveJournal
Портативный фильтр для воды Mini Filter - Aveop...
Фильтр для воды Гейзер БИО - монтаж (наглядный ...
Фильтр для питьевой воды - Science Debate
Фильтры для воды — купить фильтр для очистки во...
Купить новое поступление новый аквариум супер п...
Фильтр для воды Гейзер БИО - увеличиваем способ...
ᐉ Фильтр для воды Barrier Норма Индиго B041P76 ...
Источник Био Источник Био Керамический фильтр —...
Фильтры для питьевой воды под мойку с доставкой
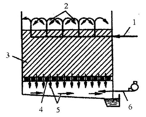
7.2. Сооружения биологической очистки сточных вод
Фильтры для воды - цены от 85000тг.