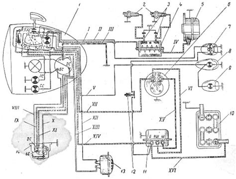
Схема проводки Урал/Днепр (МТ) — электрооборудо...
Мотоцикл Урал. КРУТАЯ ПРОВОДКА! - YouTube
Простая проводка на мотоцикл - YouTube
Обзор электрического мотоцикла "Урал" с коляско...
Очумелые ручки: Турбированный мотоцикл Урал из ...
Схема электропроводки мотоцикла урал вольт
Схема электрооборудования мотоциклов Урал
Схема проводки урал 57 фото - wForm.ru
У мотоцикла Урал появилась электрическая версия
Осенний прохват на Мотоцикле Урал с коляской : ...
Электропроводка на мотоцикл урал купить в Старо...
Схема электропроводки урал 59 фото - wForm.ru
Каталог статей — Мотоцикл Минск 125: фото, виде...
Фото проводки мотоцикла урал (33 фото) - фото -...
И вновь Урал — на этот раз электрический! — Авт...
Схема проводки мотоцикла Урал (4320, 5557), зам...
Мотоцикл Урал превратили в электробайк — HEvCars
Проводка днепр
Зажигание с электромагнитным датчиком на мотоци...
Мотоцикл Руль двойной Порты и разъёмы USB водон...
Проводка мотоцикла урал 12 вольт схема подключе...
Монтаж электропроводки на мотоцикл Урал - YouTube
Коммутатор на мотоцикл Урал, В шоке от полученн...
Генератор мотоцикл урал фото
Схема мотоцикла урал электросхема
схема проводки мт , урал на зарядку - YouTube
Электропроводка на мотоцикл урал 12 вольт схема...
Проводка на мотоцикл Урал с электронным спидоме...
Электропроводка мотоцикла урал 12 вольт схема п...