Портативное рентгеновское зрение
Опорно поворотные устройства специального назна...
Конструкции распределительных устройств. (Лекци...
Поворотное устройство - НТЦ Прибор
Распорка! Или как сбываются мечты к Новому Году...
Прожекционен Апарат РУСЬ | Антиквариат | Хасков...
Распределительные устройства - ООО Медиатехноло...
Инструкции (устройства вывода)
Опорно-поворотное устройство | Пневматические т...
Периферийное устройство
4 ВЫРЕЗАННЫХ УСТРОЙСТВА ПРЕДТЕЧ! - YouTube
Монтаж и назначение электроприборов в распредел...
Распорка
Распорки стоек — DRIVE2
Задание 3 Расставь устройства в порядке их созд...
Распределительные устройства: виды и назначение
«Рис. 7.21. Стык продольной распорки с колонной...
Сборка низковольтных распределительных устройст...
Распределительные устройства(РУ): классификация...
Распор Телескопический – купить в интернет-мага...
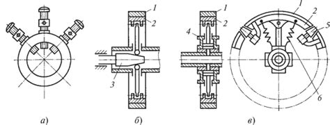
Стягивающие и распорные устройства - Технология...
Стягивающие и распорные устройства - Общая техн...
Распределительные устройства
Опорно-поворотные устройства - ЕМ Интех
Монтаж распорных систем - заказать услуги в Lar...
Высоковольтные ячейки Категория - Комплектные т...
elima.ru › Словарь › Распор
ООО ПКФ Полёт | Распределительные устройства РУ...
Устройство источника магнетронного распыления -...