Усилители для антенны виды
Антенный усилитель Антей-авто - выгодная цена, ...
Антенный усилитель для автомагнитолы
Купить автомобиль антенна антенна радио tv fm п...
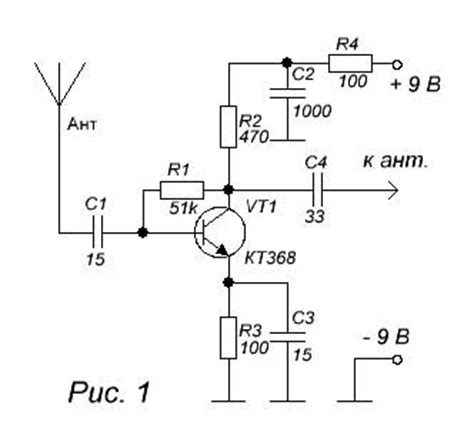
Схема антенного усилителя
Антенный усилитель для радиоприемника.Принимать...
Антенен усилвател с регулируем усилвател Антени...
Усилитель для антенны: особенности, плюсы и минусы
Усилители
Широкосмугові антени ≡ Купити широкосмугову ант...
Как выбрать антенный усилитель для телевизора
Усилитель антенный для антенны Т2 / Бочка 12V В...
Очень разумные технологические странички -> Эле...
АНТЕННЫЙ УСИЛИТЕЛЬ ДЛЯ ТЕЛЕВИЗОРА
Тонкий антенный усилитель - купить с доставкой ...
Самый мощный антенный усилитель для телевизора ...
Антенный усилитель | Радио — статьи
Антенные усилители для широкополосных антенн
Простой универсальный антенный усилитель Ham Ra...
Антенный усилитель - купить с доставкой по выго...
Усилитель антенный для цифрового ТВ DVB T2: раз...