Полочка-подвес для триммера своими руками | DIY...
Головка на триммер с цепью. Цепь вместо лески н...
Замена сцепления… — SsangYong Kyron, 2 л, 2011 ...
Дамски тример акумулаторен, Дамска електрическа...
Новое сцепление для триммера, вот что надо поку...
[ЛАЙФХАК] Устанавливаем Цепь от Бензопилы на Тр...
Замена сцепления — DRIVE2
Замена сцепления — Autocompas.ru
Центробежное сцепление своими руками. Получился...
Сцепление Для Триммера купить на OZON по низкой...
Спеццены на сцепления SACHS. Срок действия пред...
Сцепление для мини-трактора: как сделать его св...
Очередная замена "сцепления" — Ford Fusion, 1,6...
Замена сцепления — Nissan Almera II (N16), 1,8 ...
Резервни части за тримери, части за бензинови т...
1 шт. " цепной пилообразный триммер для травы л...
Как отремонтировать сцепление для триммера и со...
Какое сцепление лучше для автомобиля: Kraft (Кр...
Ремонт вариатора верхнего редуктора триммера. Р...
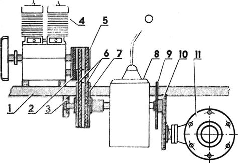
СЦЕПЛЕНИЕ НА… РЕМНЯХ | МОДЕЛИСТ-КОНСТРУКТОР
Архивы Замена сцепления триммера - Ремонт садов...
Сцепление 3 — Citroen Evasion, 1,8 л, 2000 года...
Сцепление на триммере,замена пружины,пошаговая ...
КУЛЬТИВАТОР МЕЖДУРЯДИЙ для ТРИММЕРА. КАК ЭТО РА...
Сцепление (механика) | это... Что такое Сцеплен...
Неисправности бензиновых триммеров
Сцепление для триммера и мотобура, под конус — ...