Подшипниковый узел для качелей - купить по выго...
Подшипниковые узлы – особенности и преимущества
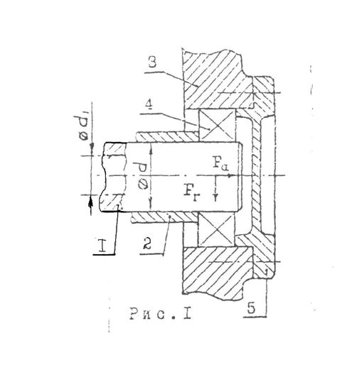
Однорядные радиально-упорные шариковые подшипни...
Подшипниковый узел
Каталог подшипниковых узлов, корпус - подшипник...
Что такое подшипники и где они применяются
Подшипниковые узлы
Подшипниковый узел | Главный механик
Подшипниковые узлы, узел подшипника, корпусные ...
Узел в сборе на подшипниках. купить в Пензе цен...
Корпус подшипника (подшипниковый узел) ⋆ Сибэле...
Подшипниковый узел с подшипником двухрядным под...
Подшипниковые узлы - encars.ru
Подшипниковый узел шариковый радиальный UCP-203...
Подшипниковый узел | Смазка
Корпусный подшипник UCP и его применение — Прод...
Подшипниковые узлы, их надежность и долговечнос...
Корпусные подшипники, подшипниковые узлы, подши...
Подвесной подшипник! — УАЗ Patriot, 2,7 л., 200...
Установка “нерегулируемых” подшипников ступиц /...
Подшипниковый узел (корпусный подшипник) купить...
Подшипниковый узел UCP 205 купить в СПб
Промышленные подшипники купить с доставкой по Р...
Замена подшипников полуосей! — Isuzu Trooper (2...
Обзор подшипниковых узлов (корпусных подшипнико...
Подшипниковый узел LSNR 207-ТВS - купить в инте...
Подшипник (узел подшипниковый) ИСРК-12.06.00.00...
Часть 3. Выбор посадок для деталей подшипниковы...
Подшипниковые узлы купить Екатеринбург